Sunday, January 20, 2013

797F Off-Highway Truck Steering System: Front Wheel - Align & Pump Drive - Adjust



Table 1
Required Tools    
Tool    Part Number    Part Description    Qty    
AA    3P-1535    Chain Wrench    1    
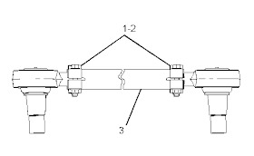
Steering linkage
(1) Clamp assemblies on the left side steering link
(2) Clamp assemblies on the right side steering link
(3) Steering link
(A) Distance between the front tires at the front(B) Distance between the front tires at the back

Use the following procedure to adjust the front wheel alignment:

  1. Lift the front of the truck until the front wheels are off the ground and the strut rods in the suspension cylinders are fully extended.

  1. Move the wheels to a straight ahead position.

  1. Measure the distance between the front tires at position (A) , which is toward the front of the truck. Mark the measurement locations of distance (A) on the front of each tire.

  1. Rotate the tires by 180 degrees in order to position the alignment marks that were created in Step 3 to position (B) , which is toward the back of the truck.

  1. Measure distance (B) between the alignment marks on the back of each tire.

  1. Use Table 2 to determine the correct toe-out when the front wheels are off the ground.
    Table 2
    Correct Toe-Out    
    B = A − 46.0 mm (1.81 inch)    

  1. If the difference that was found in Step 6 is not correct, adjust steering links (3) . Use the following procedure to adjust steering links (3) in order to get the correct toe-out with the front wheels off the ground:
      (1) Clamp assemblies on the left side steering link
      (2) Clamp assemblies on the right side steering link(3) Steering link

    1. Loosen clamp assemblies (1) of steering link (3) on the left side and loosen clamp assemblies (2) of steering link (3) on the right side.

    1. Use Tool (AA) in order to turn each steering link (3) .Note: In order to prevent Tool (AA) from marring the surfaces of steering links (3) , place a piece of rubber between the chain and each steering link (3) .

    1. Turn each steering link (3) in order to get the correct toe-out.Note: Be sure that distance (C) equals distance (D) after both steering links have been adjusted.

  1. Use the procedure in "Clamp Positioning" to align clamp assemblies (1) and clamp assemblies (2) on steering links (3) . Failure to correctly locate the clamp assemblies on steering links (3) could shorten the service life of the steering link assemblies.

  1. Lower the front of the truck.

  1. Proper adjustment between position (A) and position (B) yields the correct toe-in when the truck is in normal operation with properly charged suspension cylinders.

Clamp Positioning

    (1) Clamp assemblies on the left side steering link
    (2) Clamp assemblies on the right side steering link
    (3) Steering link(C) Dimension for location of clamp assembly by the steering arm

  1. Position clamp assemblies (1) and clamp assemblies (2) on steering links (3) . Dimension (E) in Illustration 4 is the maximum distance between the clamp assemblies and the end of steering links (3) on both ends. Dimension (E) is 6.35 ± 1.53 mm (.250 ± .060 inch).
    (1) Clamp assemblies on the left side steering link
    (2) Clamp assemblies on the right side steering link
    (3) Steering link(4) Locknut

  1. Align the open portion of clamp assemblies (1) and clamp assemblies (2) with the slots in the ends of steering links (3) .Note: It is important to position the bolts in clamp assemblies (1) and (2) as close to vertical as possible in order to minimize the chance of contact with the engine coupler pan during normal operation.

  1. Tighten locknuts (4) of clamp assemblies (1) and clamp assemblies (2) .Note: Refer to the Steering System Specifications, "Steering Linkage and Cylinder Mounting" in order to find the proper torque for locknuts (4) .

  1. Be sure that the openings on each side of the clamp assemblies are approximately equal.Note: Locate the slots in steering link (3) as close to the three o'clock and nine o'clock positions as possible.

Pump Drive - Adjust



Assembly Procedure

Refer to Disassembly and Assembly, "Pump Drive - Assemble" for final adjusting of the pump drive.

Cleaning Procedure


  1. Before assembly, ensure that all parts are clean. Also, ensure that all passages are free from debris.

  1. After the pump drive is fully assembled, connect the appropriate hardware in order to power the yoke.

  1. Use SAE 10W oil at 66 °C (150 °F). The oil must meet a minimum cleanliness of the standard ISO 16/13. Supply the oil at 12 L/min (3.2 US gpm). Rotate the yoke at 2067 RPM for 20 minutes.

  1. Check for leaks, abnormal noise, or large debris in the drain port. Take corrective action if any of these problems exist.

  1. After this flushing procedure, the oil that is exiting the pump drive must meet a minimum cleanliness of the standard ISO 16/13. If the drain oil does not meet this requirement, repeat Steps 1 through 5 until the oil meets this requirement.



If you need more information, You can visit:
http://www.cat.com

No comments:

Post a Comment