truck
≡
Menu
Home
Kategory
Page
Home
»
793D Off-Highway Truck
»
793D Off-Highway Truck Power Train: Pump Drive
Sunday, January 6, 2013
793D Off-Highway Truck Power Train: Pump Drive
7:58 PM
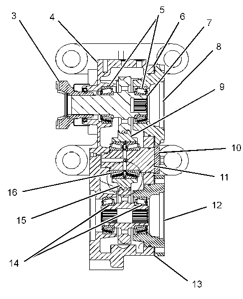
(1) Pump drive(2) Pump drive shaft which is located under the guard
(3) Yoke assembly
(4) Housing
(5) Bearings
(6) Shims
(7) Drive gear
(8) Cage
(9) Idler gear
(10) Shaft
(11) Shims
(12) Cage
(13) Shims
(14) Bearings
(15) Driven gear(16) Bearings
(1) Pump drive
(3) Yoke assembly
(17) Steering piston pump
(18) Piston pump for fan drive(19) Gear pump for the hoist and brake retract
Pump drive (1) is fastened to the inner right side of the main frame directly behind the flywheel housing of the engine. The accessory drive gear in the flywheel housing drives pump drive shaft (2). Pump drive shaft (2) is connected to yoke assembly (3) .
Splines connect yoke assembly (3) to drive gear (7). Drive gear (7) turns idler gear (9) which turns driven gear (15) .
Shims (6) are used to adjust the end play of drive gear (7). Shims (11) are used to adjust the end play of idler gear (9). Shims (13) are used to adjust the end play of driven gear (15) .
Three pumps are driven by the pump drive. Steering piston pump (17) is fastened to cage (8). The pump is driven by drive gear (7). The gear pump for the hoist and brake retract (19) is fastened to cage (12). The piston pump for the fan drive (18) is fastened directly to housing (4). The piston pump for the fan drive (18) is located across from the gear pump for the hoist and brake retract (19). Driven gear (15) drives both the piston pump for fan drive (18) and the gear pump for the hoist and brake retract (19) .
Lubrication of the pump drive is provided by oil from the torque converter charge pump section. The oil is sprayed on drive gear (6). Holes in housing (4) will send oil to each bearing. An oil level is kept in housing (4) so that the teeth on driven gear (15) are in oil. The gears will throw oil in the housing. Extra oil in housing (4) goes to the torque converter housing.
If you need more information, You can visit:
http://www.cat.com
793D Off-Highway Truck Power Train: Pump Drive
2013-01-06T19:58:00-08:00
Rating:
4.5
Diposkan Oleh:
Unknown
0 comments:
Post a Comment
Newer Post
Older Post
Home
Subscribe to:
Post Comments (Atom)
Entri Populer
777F OFF-HIGHWAY TRUCK: BRAKE SYSTEM
Two separate brake systems are used on the 777F. The two brake systems are the service/retarder brake system and the parking/secondary brake...
VIMS AND VIMS 3G WITH ADVISOR: OVERVIEW ( 777F / 777F / 793F / 797F/ 993K / VIMS 11.0)
VIMS provides the operator or technician with the ability to select and monitor over 250 machine functions, health statistics, and payload d...
777F OFF-HIGHWAY TRUCK : BRAKE ELECTRONIC CONTROL SYSTEM:
This schematic shows the major components of the brake system with the standard oil cooled front brakes. The front slack adjuster is not inc...
VIMS FOR CAT 773G, 775G, 777G OFF HIGHWAY TRUCKS
VIMS is a powerful tool for machine management that provides service personnel and equipment managers information on a wide range of vital m...
793D Off-Highway Truck Power Train: Torque Converter Sump, Gear Pump (Torque Converter and Transmission) & Magnetic Screen (Transmission)
1.-Torque Converter Sump Torque converter sump The torque converter sump is located behind the engine. Oil for the torque converter system a...
Labels
1080p
1200
1600
160GB
1917 Model G
2012
2025
250GB
320GB
32GB
360®
500GB
768C TRACTOR 769C TRUCK POWER TRAIN
769D
770G
770G and 772G
770G and 772G Off-Highway Truck (OEM) Hydraulic and Braking System
772G
773E
773E and 775E
773G
775E
775G
777F
777G
785C
789D
789D and 789D XQ Off-Highway Truck Air System and Brakes
793D
793D Off-Highway
793D Off-Highway Truck
793F
795F AC
797B
797B Off-Highway Truck Fan Drive Hydraulic System
797F
80GB
997F
actor
actress
ad
Afterglow
airship
AllStars
Amazon
Ambidextrous
art
Assassin's
AX.1
B4F00014
Band
Base
Basic
Beach
beer
bird
birthday
Black
Black Ops 2
Blue
bmw
bobber
Bonus
Bros.
Brothers
buell
Bulk
Bundle
cafe racer
Call
cars
cat
Catz
CB
Chain
Charge
Charging
Chili
china
City
Classic
Code
Collection
Combo
Console
Controller
craft
Creed
cruiser
dambass
Dance
date
death
Deluxe
design
Digimon
Digital
dirt bike
Download
DPad
drag race
Dualshock
ducati
Duty
Edition
electric
English
Entertainment
evil disney
Exclusive
expensive shit
Expert
Family
Fender
finland
fire
france
Friday
Full
fun
fuzz
Game
Gamecube
games
Gaming
garage
GB
gear
Generic
german
Gigabyte
Glossy
GMM6980
Gold
goons
graphic design
Guitar
Halo
Hardened
Hardware
harley
Headset
Henderson
Hero
Historia
history
Holiday
honda
Hyrule
ijn
india
indian
Instant
Intercooler
isle of man
italy
Japan
joke
junk
Just
Kart
kawasaki
kids
KILO
Kinect
ktm
Land
Laverda
Legend
Legends
Lego
Limited
LIVE
machining
magazine
Mario
Membership
met
michigan
Microsoft
mistery bike
MODEL
models
Month
Mouse
Move
movie
mstery bike
MT4400
music
Nike+
Nintendo
NUKETOWN
Nunchuck
Nunchuk
Nyko
Ocarina
odd ball
Off-Highway Truck
Online
opinion
Original
ornament
Packaging
painting
parts
Peppers
peugeot
phone
photography
pinup
plane
Platinum
Play
Player
PlayStation
Playstation 3
Plus
Points
poland
politics
Portugal
Princess
ProLaser
Ps3
racer
Racing
Rayman
Razer
Remote
Resort
robot
Rock
Roku
Royal Enfield
RZ0100780100R3U1
safety
SBK
scooter
sculpture
Selects
shirt
sick stuff that Buck posts
sidecar
Silver
singer
Skyward
sokol
Sonic
Spirit
Sports
Starter
Station
Stereo
story
strange bike
Stratocaster
Streaming
Super
suzuki
sweden
Sword
System
System/PlayStation
Taipan
technology
Theology
Time
tools
Tour
track
Tracks
Transformed
Transforming
Triforce
trike
Triumph
truck
Turtle
Twilight
uk
uk fun
Uncharted
Undercover
ural
Value
vespa
vintage
Vol.
war
White
Wii
Wii U
Windows
Wired
Wireless
women
wood
World
Xbox
Xbox 360
Xbox Controller
Xbox Live
yamaha
Year
Zelda
ZombiU
Powered by
Blogger
.
0 comments:
Post a Comment