| Tools to help diagnose issue: ET data log, VIMS snapshot, etc. |
| A Cat ET data log file (E) Poor charge time(15) Poor stability |
| A Cat ET data log file (F) Good charge time(16) Good stability |
| (11) Valve (Brake Pump Unloader) (12) Solenoid Valve (Brake Pump Unloader) (13) Relief Valve (Main)(14) Solenoid Valve (Brake Accumulator Purge) |
| View A-A (11) Valve (Brake Pump Unloader) (12) Solenoid Valve (Brake Pump Unloader)(14) Solenoid Valve (Brake Accumulator Purge) |
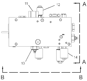
| View B-B (13) Relief Valve (Main)(14) Solenoid Valve (Brake Accumulator Purge) |
| View C-C (11) Valve (Brake Pump Unloader) (12) Solenoid Valve (Brake Pump Unloader) (13) Relief Valve (Main)(14) Solenoid Valve (Brake Accumulator Purge) |
| View D-D (11) Valve (Brake Pump Unloader)(12) Solenoid Valve (Brake Pump Unloader) |
| Problem: EID 527 High Brake Pump Command is active if the engine is running, and the brake system is charging for more than 90 seconds without cutting out. | ||||
| Component | Possible Component Root Causes | Non-Component Root Causes | How to Diagnose | Corrective Action |
| Solenoid Valve (Brake Pump Unloader) (12) | Seal Damaged causing leaking. | Contamination: Brake system oil significantly dirtier than ISO 18/15 | Open circuit/short to ground fault codes logged in ET. Measure coil resistance when cool 20° C (68° F). The resistance should be close to 32 ± 2 ohms. | Replace Solenoid Valve (Brake Pump Unloader) (12). |
| Valve improperly installed causing screen damage | Harness connector not locked in place | Stuck Closed: Measure actual brake pump pressure. Install 5000psi gauge on brake pump pressure tap. Brake pump pressure at 3250 ± 50psi relief pressure constantly. | Make sure that oil is ISO 18/15 or better. If more than two ISO codes high, kidney loop machine and change filter. If kidney loop not available, change oil. | |
| Partially stuck open or closed | Locking tab broken on mating connector. | Stuck Open: Measure actual brake pump pressure. Install 5000psi gauge on brake pump pressure tap. Brake pump pressure at standby constantly. | ||
| Remove the access plug for OR1. Install a 5000psi gauge. Pressure at OR1 is the same as (stuck closed) or less than (stuck open) brake pump pressure. | ||||
| Bent or damaged solenoid valve. | Remove solenoid and visually inspect screen for damage. | |||
| Valve (Brake Pump Unloader) (11) | Stuck Open or Closed | Contamination: Brake system oil significantly dirtier than ISO 18/15 | Stuck Closed: Measure actual brake pump pressure. Install 5000psi gauge on brake pump pressure tap. Brake pump pressure at 3250 ± 50psi relief pressure constantly. | Replace Valve (Brake Pump Unloader) (11). |
| Remove the access plug for OR1. Install a 5000psi gauge. Pressure at OR1 is the same as (stuck open) or less than (stuck closed) brake pump pressure. | Make sure that oil is ISO 18/15 or better. If more than two ISO codes high, kidney loop machine and change filter. If kidney loop not available, change oil. | |||
| Seal damage | Stuck Open: Measure actual brake pump pressure. Install 5000psi gauge on brake pump pressure tap. Brake pump pressure at standby constantly. | |||
| Remove valve and visually inspect to determine if valve stuck open | ||||
| Relief Valve (Main) (13) | Stuck Open | Contamination: Brake system oil significantly dirtier than ISO 18/15 | Stuck Open: Measure actual brake pump pressure. Install 5000psi gauge on brake pump pressure tap. Brake pump pressure at low pressure constantly. | Increase Relief Valve (Main) (13) pressure setting. |
| Replace Relief Valve (Main) (13). | ||||
| Pressure Setting Drifting Low causing a stalled charge | Drifting Low: Measure actual brake pump pressure. Install 5000psi gauge on brake pump pressure tap. Brake pump pressure below Brake Accumulator cut out pressure (3000psi). Low Idle Charging may stall or charge time be extended. | Make sure that oil is ISO 18/15 or better. If more than two ISO codes high, kidney loop machine and change filter. If kidney loop not available, change oil. | ||
| Brake Pump | Poor Volumetric Efficiency | Contamination: Brake system oil significantly dirtier than ISO 18/15 | If you cannot reach cutout at low idle, this may be a sign that the pump efficiency is too low. | Replace Brake Pump. |
| Pumping over relief valve for an extended period of time > 90 seconds | ||||
| Brake Accumulator Pressure Sensors | Failed In Range / Stuck at one pressure | Harness connector not locked in place | With machine off, verify that the sensors are reading less than 75psi. | Replace Brake Accumulator Pressure Sensors. |
| Locking tab broken on mating connector. | Install 5000psi gauge on the brake accumulator pressure taps in order to verify that the accumulator pressure matches the gauge pressure. With machine running at low idle check to see if the gauge matches the sensor in ET. | |||
| Solenoid Valve Gp (Brake Accumulator Purge) (14) | Short to Battery | Contamination: Brake system oil significantly dirtier than ISO 18/15 | Short To Battery Fault Code | Replace Solenoid Valve Gp (Brake Accumulator Purge) (14) |
| Stuck Open | If you cannot reach cutout at low idle and both accumulators cycle rapidly, then the valve could be stuck open. | Make sure that oil is ISO 18/15 or better. If more than two ISO codes high, kidney loop machine and change filter. If kidney loop not available, change oil. | ||
| Check Valve (Hoist Pilot Check) | Incorrectly installed in place of tow motor check. | Contamination: Brake system oil significantly dirtier than ISO 18/15 | Verify arrow on hex of check valve is flowing in the correct direction. | Properly install check valve. |
| Check Valve (Tow Motor Check) | Incorrectly installed in place of hoist pilot check. | Contamination: Brake system oil significantly dirtier than ISO 18/15 | Verify arrow on hex of check valve is flowing in the correct direction. | Properly install check valve. |
| Filter Element | Damaged on Installation | System Overheating | Remove filter element and inspect for damage and loose pieces of yellow plastic. Remove and inspect Accumulator purge solenoid screens for debris. | Contact product support through the DSN. |








Is it the same for 770 off highway truck
ReplyDelete